Феррорезонансные явления в электрических сетях

Основные факторы, которые порождают феррорезонансные явления в электрических сетях – это элементы ёмкостного и индуктивного типа. Они способны формировать колебательные контуры в периоды переключения. Этот эффект особо заметен в трансформаторах силового типа, линейного вольтодобавочного, шунтирующих контурах и в аналогичных устройствах, которые оборудуются массивной обмоткой. Данное явление бывает 2 типов: резонанс токов и напряжения.
Феррорезонанс напряжений возможен, когда в сети имеется индуктивность, характеризующаяся нелинейным вольт-амперным свойством. Данная характеристика свойственна катушкам индуктивности, где сердечники производятся из ферромагнитных компонентов. Особенно это касается выпрямителей линейки НКФ. Такое негативное явление обуславливается небольшим показателем сопротивлений омического и индуктивного типов по отношению к силовым трансформаторам.
Зачем заземлять
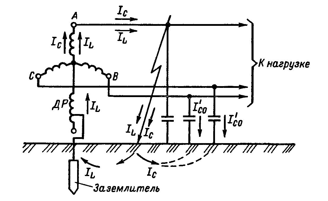
Заземление нейтрали трансформатора необходимо для создания стабильной работы электроустановки и безопасности людей, которые могут находиться на подстанции.
Рабочее заземление на трансформаторе является частью защитного. Это значит, что заземление, предназначенное для стабильной работы устройства, также защищает от поражения током.
Правила устройства электроустановок требуют, чтобы все силовые трансформаторы были заземлены.

В трансформаторах напряжения заземляется только трансформатор. Согласно правилам устройства электроустановок у трансформатора напряжения заземление вторичной обмотки происходит путем соединения общей точки или одного из концов обмотки с заземляющим проводником.
В трансформаторах тока заземляются вторичные обмотки. Для подключения проводников предусмотрены специальные зажимы. Обмотки нескольких установок можно соединять одним проводником и подключать к одной шине.
В электротехнике выделяют понятие сети с эффективно заземленной нейтралью. Оно применимо для силового трансформатора, у которого заземлено большинство нейтралей обмоток (глухое заземление нейтрали).
Если произойдет однофазное замыкание, то напряжение на поврежденных фазах не должно быть выше 1,4 напряжения на рабочих фазах в нормальных условиях.
РПН трансформатора расшифровка
Данные устройства нельзя сравнивать с обычными реле. Однако, принцип работы РПН достаточно простой. В каждом фазном выводе, имеющемся у трансформатора, установлены подвижные контакты в количестве двух единиц.

Один из них прижимается к витку обмотки, соответствующему данному значению напряжения. Во время перевода, происходит прижатие второго свободного контакта к последующему витку, где напряжение отличается. После этого, происходит отрыв первого прижатого контакта от витка. Таким образом, происходит переподключение вывода к другому витку, не разрывая цепь. Регулирование напряжения трансформатора под нагрузкой (РПН) может выполняться вручную или с помощью электрического привода.
Чтобы обеспечить безопасные условия для персонала, ручной привод используется при выключенном трансформаторе. Управляется электрический привод дистанционно, нередко, в автоматическом режиме. Регулировка под нагрузкой осуществляется на трансформаторах с большой мощностью.
Иногда, кроме РПН регулирование под нагрузкой, применяется ПБВ переключение без возбуждения. Этот вид регулирования применяется редко, как правило, при сезонных регулировках выключенного трансформатора.
схема рпн трансформатора
Устройство РПН, как правило, устанавливают на обмотке высшего напряжения по следующим причинам:
- на стороне высшего напряжения меньшие токи, поэтому устройство имеет меньшие габариты;
- обмотка высшего напряжения имеет большее количество витков, поэтому точность регулирования выше;
- по конструктивному исполнению обмотка высшего напряжения является наружной (магнитопровод – обмотка низшего напряжения – обмотка высшего напряжения). Поэтому ревизию устройства РПН выполнять проще;
- устройство РПН располагают в нейтрали высшей обмотки.Обмотки высшего напряжения соединяются в звезду, а обмотки низшего напряжения соединяются в треугольник. Трехфазное регулирование проще выполнить на обмотках, соединенных в звезду.
Защита РПН
Для обеспечения штатной работы устройства применяется газовая защита. Выполняется дополнительная ёмкость (расширитель), соединённая с основной масляной средой трансформатора специальным каналом, в котором установлено реле и сигнальный элемент.
При незначительном газообразовании сигнальный элемент указывает на снижение уровня масла. В случае выброса, расширившееся масло вытесняется в расширитель. Если интенсивность выброса достигает установленного значения, срабатывает реле, отключая трансформатор. Таким способом предохраняется от разрушения контакторы РПН.
Что это такое
Стабилизатором называется устройство, которое выравнивает напряжение в сети, подавая на устройство необходимые 220 вольт. Большинство современных недорогих стабилизаторов работает в диапазоне +-10% от искомого показателя, то есть “выравнивая” скачки в диапазоне от 200 до 240 вольт. Если у вас наблюдаются более серьезные проседания, то нужно подбирать устройство подороже – некоторые модели способны “вытягивать” линию от 180 вольт.
Современные стабилизаторы напряжения это небольшие устройства, которые работают совершенно беззвучно, и не жужжат, как их “предки” из СССР. Они могут работать в сети 220 и 380 вольт (нужно подбирать при покупке).
Кроме падения напряжения качественные стабилизаторы “очищают” линию от мусорных импульсов, помех и перегрузок. Мы рекомендуем вам обязательно пользоваться подобными устройствами в быту, устанавливая их на входе в квартиру или, как минимум, на каждый важный бытовой прибор (котел, рабочий компьютер и пр). Но лучше все же не рисковать дорогой техникой, а приобрести нормальное выравнивающее устройство.
Теперь, когда вы знаете, что такое стабилизатор напряжения, подумайте, сколько денег он может вам сэкономить. Одновременно в квартире работает большое количество техники – стиральная машина, компьютер, телевизор, посудомойка, заряжается телефон и пр. Если произойдет скачок, то все это может выйти из строя, и ущерб будет нанесен на десятки, а то и сотни тысяч рублей. Доказать в суде, что причиной поломки техники стал скачок напряжения, практически невозможно, поэтому вам придется оплачивать ремонт и приобретать новую на свои деньги.

Принцип работы стабилизатора
Феррорезонансные стабилизаторы
Феррезонансный стабилизатор
Феррорезонансные выпрямители не оборудуются встроенным вольтметром, вследствие чего сложно замерять выходной показатель напряжения сети. Отрегулировать величину напряжения собственноручно не получится. Стабилизаторы феррорезонансного типа частично искажают реальные показания, величина погрешности составляет до 12%.
Тем, кто долго пользуется такими устройствами, необходимо помнить, что они способны излучать магнитное поле, которое может нарушить правильное функционирование бытовой электротехники. Стабилизаторы такого класса настраиваются в заводских условиях, никаких дополнительных настроек в быту они не требуют.
Принцип работы симисторных стабилизаторов
Работа симисторных стабилизаторов похожа на работу релейных устройств. Отличие составляет узел переключения обмоток трансформатора. Вместо реле у симисторных устройств переключение обмоток происходит мощными симисторами или тиристорами. Контроллер управляют работой симисторов.
Симисторное управление обмотками не имеет контактов, поэтому отсутствуют щелчки. Автотрансформатор намотан медным проводом. Эти стабилизаторы могут работать с пониженным напряжением от 90 В и высоким напряжением до 300 В. Точность регулировки напряжения может достичь 2%, что не вызывает моргание ламп.
Однако ЭДС самоиндукции во время переключения симисторами также имеет место, как и у релейных устройств. Так как симисторные ключи очень чувствительны к перегрузкам, им необходимо иметь запас по мощности. Такие устройства стабилизаторов напряжения имеют тяжелый температурный режим.

Схема работы симисторного стабилизатора
Поэтому симисторы ставятся на радиаторы с принудительным охлаждением вентиляторами. Работа этого вида устройства осуществляется по заводской программе, которая имеет неприятность ошибаться при эксплуатации.
В этом случае поможет только заводской ремонт. Стоимость таких стабилизаторов, на мой взгляд, завышена. Существуют симисторные стабилизаторы марки Volter с высокой степенью точности. Принцип работы этих стабилизаторов напряжения осуществляется по двухступенчатой системе. Первая ступень регулирует выходное напряжение грубо, а вторая степень имеет точную регулировку выходного напряжения.

Схема работы двухступеньчатого стабилизатора Volter
Один контроллер управляет двумя ступенями. По сути это два стабилизатора в одном корпусе. Обмотки обеих ступеней намотаны на одном трансформаторе. При 12 ключах двух ступеней стабилизатор имеет 36 уровней регулировки выходного напряжения, чем и достигается высокая точность выходного напряжения.
Принцип действия феррорезонансных стабилизаторов

Обмотка первичного типа, на которую поступает входное напряжение, находится на магнитопроводе. Он обладает большим поперечным сечением, что позволяет держать сердечник в ненасыщенном состоянии. На входе напряжение формирует магнитные потоки.
На зажимах обмотки вторичного типа формируется выходное напряжение. К этой обмотке подсоединяется нагрузка, которая находится на сердечнике, обладает небольшим сечением и пребывает в насыщенном состоянии. При аномалиях сетевого напряжения и магнитного потока его значение фактически не модифицируется, а также неизменным остаётся показатель ЭДС. Во время увеличения магнитного потока некоторая его доля будет замкнута на магнитном шунте.
Магнитный поток принимает синусоидальную форму и при его подходе к амплитудному показателю отдельный его участок переходит в режим насыщения. Повышение магнитного потока при этом прекращается. Замыкание потока по магнитному шунту будет осуществляться лишь тогда, когда показатель магнитного потока сравнится с амплитудным.
Наличие конденсатора позволяет феррорезонансному стабилизатору работать с увеличенным мощностным коэффициентом. Показатель стабилизации зависит от уровня наклона кривой горизонтального типа по отношению к абсциссе. Наклон данного участка значительный, поэтому обрести высокий уровень стабилизации без вспомогательного оборудования невозможно.
Феррорезонансные стабилизаторы
Феррорезонансные выпрямители не оборудуются встроенным вольтметром, вследствие чего сложно замерять выходной показатель напряжения сети. Отрегулировать величину напряжения собственноручно не получится. Стабилизаторы феррорезонансного типа частично искажают реальные показания, величина погрешности составляет до 12%.
Тем, кто долго пользуется такими устройствами, необходимо помнить, что они способны излучать магнитное поле, которое может нарушить правильное функционирование бытовой электротехники. Стабилизаторы такого класса настраиваются в заводских условиях, никаких дополнительных настроек в быту они не требуют.
Инверторные стабилизаторы
Современные инверторные стабилизаторы Штиль серии «Инстаб» Это наиболее «молодой» вид стабилизаторов – серийное производство начато в конце 2000-х годов. Инновационная конструкция и характеристики, недоступные для моделей других топологий, делают данные устройства прорывом в стабилизации электрической энергии.
Устройство и принцип работы.
Принцип действия данных устройств схож с on-line ИБП и построен на базе прогрессивной технологии двойного преобразования энергии. Сначала выпрямитель превращает входное переменное напряжение в постоянное, которое затем накапливается в промежуточных конденсаторах и подаётся на инвертор, осуществляющий обратное преобразование в переменное стабилизированное выходное напряжение. Инверторные стабилизаторы кардинально отличаются от релейных, тиристорных и электромеханических по внутреннему строению. В частности, в них отсутствует автотрансформатор и любые подвижные элементы, в том числе и реле. Соответственно, стабилизаторы двойного преобразования избавлены от недостатков, присущих трансформаторным моделям.
Преимущества.
Алгоритм работы этой группы устройств исключает трансляцию любого внешнего возмущающего воздействия на выход, что обеспечивает полную защиту от большинства проблем электроснабжения и гарантирует питание нагрузки напряжением идеальной синусоидальной формы со значением максимально приближенным к номинальному (точность ±2%). Кроме того, инверторная топология устраняет все недостатки характерные другим принципам стабилизации электрической энергии и обеспечивает моделям, реализованным на её базе, уникальное быстродействие – стабилизатор реагирует на изменение входного сигнала мгновенно, без задержек во времени (0 мс)!
Другие важные преимущества инверторных стабилизаторов:
- максимально широкие границы рабочего сетевого напряжения – от 90 до 310 В, при этом идеальная синусоидальная форма выходного сигнала сохраняется во всем указанном диапазоне;
- непрерывное бесступенчатое регулирование напряжения – исключает ряд неприятных эффектов, связанных с переключением порогов стабилизации в электронных (релейных и полупроводниковых) моделях;
- отсутствие автотрансформатора и подвижных механических контактов – повышает ресурс работы и снижает массу изделия;
- наличие входного и выходного фильтров высоких частот – эффективно подавляют возникающие помехи (присутствуют не во всех моделях, характерны в частности для продукции ГК «Штиль» – ведущего производителя инверторных стабилизаторов).
Возникает закономерный вопрос — есть ли недостатки у инверторных устройств? Единственным и в то же время спорным недостатком является более высокая цена. Но учитывая технические требования современной бытовой техники и одновременно сохраняющуюся тенденцию перепадов сетевого напряжения, инверторные стабилизаторы сегодня являются самым экономически оправданным вариантом для постоянного пользования как в частных домах и загородных коттеджах, так и на промышленных объектах. Они гарантируют устойчивое, корректное функционирование дорогостоящей бытовой техники и чувствительных электронных устройств при любом качестве питающей электросети.

Рисунок 4 – Схема инверторного стабилизатора напряжения
Подробнее по этой теме читайте ниже:
Инверторные стабилизаторы напряжения «Штиль». Модельный ряд.
Феррорезонансные стабилизаторы
Феррорезонансные выпрямители не оборудуются встроенным вольтметром, вследствие чего сложно замерять выходной показатель напряжения сети. Отрегулировать величину напряжения собственноручно не получится. Стабилизаторы феррорезонансного типа частично искажают реальные показания, величина погрешности составляет до 12%.
Тем, кто долго пользуется такими устройствами, необходимо помнить, что они способны излучать магнитное поле, которое может нарушить правильное функционирование бытовой электротехники. Стабилизаторы такого класса настраиваются в заводских условиях, никаких дополнительных настроек в быту они не требуют.
Советы по выбору стабилизатора
При выборе учитывайте следующие факторы:
- Модель стабилизатора по числу фаз сети. Если в вашей трехфазной сети работают 1-фазные устройства, то для защиты от перепадов напряжения лучше применять три отдельных однофазных стабилизатора.
- Мощность прибора. При определении этого параметра нужно учесть, что некоторые устройства имеют асинхронные двигатели, у которых высокие пусковые токи.
- Точность стабилизации для защиты бытовых устройств, его быстродействие.
- Наличие вспомогательных функций.
- Условия работы прибора.
- При выборе прибора необходимо учесть схему разводки проводов цепи питания.
Источник
Классификация
Различают несколько типов РПН, отличающихся следующими характеристиками:
- разновидностью токоограничивающего элемента – с реакторами или резисторами;
- наличием или отсутствием контактора;
- количеством фаз – однофазные и трёхфазные;
- типом токовой коммутации.
Расшифровка маркировки для РПН типа UBB…
В зависимости от способа коммутации тока, существуют следующие разновидности устройств:
- дуга разрывается в объёме, заполненном трансформаторным маслом – устройство предполагает использование дугогасительных контактов, не требующих применения специальных элементов для гашения дуги;
- дуга разрывается в разреженном пространстве – предполагают использование вакуумных дугогасительных камер, производимых промышленным способом;
- отключение производится посредством тиристоров, бездуговым способом;
- комбинированные способы – с сочетанием различных типов коммутации.

Чтобы обеспечить безопасность и функциональность РПН, они снабжаются автоматическими контролирующими элементами и регуляторами напряжения.
Кроме указанных устройств, для изменения характеристик напряжения в мощных агрегатах могут применяться специальные вольтодобавочные трансформаторы. Данное оборудование подключается последовательно и используется вместе с основным агрегатом в качестве вспомогательного. Но указанный способ не получил широкого применения в связи с дороговизной и высокой сложностью схемы.
Виды трансформаторов и принцип работы
Принцип работы конструктивного устройства, показатели мощности и требуемые нюансы различаются в зависимости от того, на скольких кВ работает оборудование. Требования обязательны к соблюдению, даже мельчайшие погрешности приводят к изменению феррорезонансной устойчивости.

Работающие при 110-ти киловольтах
Возникающие при функционировании сетей 110 кВ феррорезонансные явления обуславливаются начлиием разземления для уменьшения токов. Присутствуют резонансные колебания, связанные с:
- гармоникой и субгармоникой — появляется между конденсатами с определенными показателями емкости и индуктивностью трансформаторов;
- субгармоника при режимах неполных фаз — появляется в результате попадания через между фазные линии, когда напряжение подается на отключенную фазу;
- гармоника при неполной фазу — присутствует, когда работает тс с разземлением и взаимодействует с индуктивностью нелинейным образом.
При нулевом канале резонансные явления не возникают, но если определенный участок изменяет нейтраль, то это состояние возможно. Разземление приводит к тому, что повреждаются конструктивные детали. Сопротивление первичной обмотки создает резонанс на частоте 16 Герц, как последствие энергетический поток переводится через междуфазные проводники.

Антирезонансные трансформаторы напряжения, рассчитанные на 220, 330 и 500 киловольт
Для оборудования, которое работает на 220, 330 и 500 киловольтах существенную проблему представляют феррорезонансы с конденсаторами, которые отвечают за высоковольтные смены. Емкость значительная, при этом напряжение попадает при отключении цепи на трансформатор (разделяется между шинами и конденсаторами). Принцип работы состоит в том, чтоб обеспечить:
- линеаризацию магнитного провода;
- увеличение технических характеристик магнитопровода;
- увеличение показателя сцепления;
- снижение характеристик индуктивности;
- снижение потерь в первичной обмотке.
Выбор конкретных методик и принципа работы для такого трансформатора определяется типологией оборудования. Иногда оптимальным вариантом будет выбрать снижение субгармоники резонанса и вместе с этим уменьшить некоторые параметры производительности устройства.

Трансформаторы типа: НАМИ-10, НАМИ-10-95, НАМИ-10-95 УХЛ2
НАМИ-10 представляет собой первый трансформатор, используемый для снижения показателя резонанса. Расшифровка НАМИ буквально означает то, что трансформатор относится к типу работающий с напряжением (Н), антирезонансный (А), масляный, но в конкретном случае возникает циркуляция природным способом масла и воздушных потоков (М), изоляционно-контрольный (И). ТС такого типа является конструкцией из двух трехобмоточных тс.
НАМИ-10-95 является устройством, работающим в электрических сетях с частотой от 50 Герц. Трехфазный, предназначается для работы с измерительными системами, автоматическими устройствами, сигнализациями. Напряжение первичной обмотки составляет 10 или 6 кВ, вторичной — 0,1. Заземление собрано из конструкционной стали. Он масляный, обмотки с магнитопроводами помещены в сосуд.
НАМИ-10-95 УХЛ2 кроме основного предназначения (передача сигнала к оборудованию управления, измерения или защиты, могут использоваться для изоляции от максимальных показателей напряжения цепей электрических приборов на производстве. Всего установлено две вторичных обмотки, напряжение номинальное каждой из них не превышает 100 В.

Феррорезонанс в трансформаторе напряжения: принцип работы стабилизатора напряжения

Феррорезонансный стабилизатор напряжения уже давно активно применяется не только в быту, но и в промышленности. Устройства этого класса позволяют выровнять напряжение переменного типа. В основе принципа функционирования заключается эффект электромагнитного резонанса в колебательном контуре. Такие нормализаторы обладают массой достоинств, но также имеют и свои недостатки.
Феррорезонансные явления в электрических сетях
Основные факторы, которые порождают феррорезонансные явления в электрических сетях – это элементы ёмкостного и индуктивного типа. Они способны формировать колебательные контуры в периоды переключения. Этот эффект особо заметен в трансформаторах силового типа, линейного вольтодобавочного, шунтирующих контурах и в аналогичных устройствах, которые оборудуются массивной обмоткой.
Данное явление бывает 2 типов: резонанс токов и напряжения.
Феррорезонанс напряжений возможен, когда в сети имеется индуктивность, характеризующаяся нелинейным вольт-амперным свойством. Данная характеристика свойственна катушкам индуктивности, где сердечники производятся из ферромагнитных компонентов. Особенно это касается выпрямителей линейки НКФ. Такое негативное явление обуславливается небольшим показателем сопротивлений омического и индуктивного типов по отношению к силовым трансформаторам.
Феррорезонанс в трансформаторе напряжения
Когда трансформатор напряжения подключается к сети, в ней формируются последовательно совмещённые LC-цепи, являющие собой контур резонансного типа. При последовательном подключении индуктивного элемента с нелинейным вольт-амперным свойством к элементу ёмкостного типа напряжение в этой зоне цепи характеризуется как активно-индуктивное.
По окончании определённого временного периода значение напряжения на индуктивном элементе становится пиковым, магнитопровод питается, а напряжение на компоненте ёмкостного типа продолжает расти. Феррорезонанс в трансформаторе напряжения наступает, когда напряжение индуктивности и ёмкостного элемента становится равнозначным.
Быстрый переход приложенного напряжения из активно-индуктивного типа в активно-ёмкостной именуется как “опрокидывание фазы”. Такой эффект опасен для электроприборов.
Феррорезонансные стабилизаторы
Феррезонансный стабилизатор
Феррорезонансные выпрямители не оборудуются встроенным вольтметром, вследствие чего сложно замерять выходной показатель напряжения сети. Отрегулировать величину напряжения собственноручно не получится. Стабилизаторы феррорезонансного типа частично искажают реальные показания, величина погрешности составляет до 12%.
Тем, кто долго пользуется такими устройствами, необходимо помнить, что они способны излучать магнитное поле, которое может нарушить правильное функционирование бытовой электротехники. Стабилизаторы такого класса настраиваются в заводских условиях, никаких дополнительных настроек в быту они не требуют.
Влияние стабилизатора на технику
Феррорезонансный стабилизатор напряжения, принцип работы которого непрост, воздействует на бытовую технику следующим образом:
- Радиоприёмник – чувствительность приёма сигнала может быть уменьшена, показатель выходной мощности существенно снижается.
- Музыкальный центр – выходная мощность такой техники может существенно снизиться, стирание и запись новых дисков значительно ухудшаются.
- Телевизор – при подсоединении к стабилизатору можно наблюдать значительное снижение качества картинки на ТВ, отдельные цвета передаются неправильно.
Электрическая схема современных нормализаторов феррорезонансного типа улучшена, что позволяет им выдерживать большие нагрузки. Такие устройства могут гарантировать точную регулировку сетевого напряжения. Процедура корректировки выполняется трансформатором.
Режимы эксплуатации
Эксплуатационные режимы стабилизаторов зависят от ряда факторов. Прямое влияние имеет показатель мощности и класс устройства. Мощностные характеристики прибора могут быть разными, выбирать их надо с учётом типа подсоединяемой электротехники.
Режимы функционирования выпрямителя зависят от таких типов нагрузки:
- индуктивная;
- активная;
- ёмкостная.
Активная нагрузка в чистой форме наблюдается крайне редко. Она необходима только в тех цепях, где переменное значение устройства не имеет ограничений. Нагрузки ёмкостного типа могут применяться только для тех выпрямителей, которые обладают невысокой мощностью.
Классификация трансформаторов напряжения
ТНы классифицируются по следующим параметрам:
- напряжение первичной обмотки (3, 6, 10 … 750кВ)
- напряжение основной вторичной обмотки (100 В – для однофазных, включаемых между фазами, трехфазных; 100√3 – однофазных, включаемых между фазой и землей
напряжение дополнительной вторичной обмотки (100В – однофазные в сети с заземленной нейтралью, 100√3 – однофазные в сети с изолированной нейтралью - число фаз (однофазные, трехфазные)
- количество обмоток (двухобмоточные, трехобмоточные)
- класс точности (0,1 0,2 0,5 1 3 3Р 6Р)
- способ охлаждения (сухие, масляные, газонаполненные)
- изоляция (воздушно-бумажная, литая, компаунд, газ, масло, фарфор)
На напряжение 6, 10кВ используют литые ТНы, залитые эпоксидной смолой. Эти аппараты устанавливают в распредустройствах. Они занимают меньшие габариты, по сравнению с масляными. Также к их плюсам стоит отнести меньшее количество ухода за ними.
электромагнитные и емкостные
Если открыть объемы и нормы испытаний электрооборудования на странице ТНов, то можно увидеть, что трансформаторы напряжения там разделяются на электромагнитные и емкостные. В чем же состоит различие этих типов оборудования.
Электромагнитными считаем все ТНы в которых преобразование происходит по принципу, описанному выше (магнитные потоки, ЭДС и так далее). Индукционный ток, в брошюрах западных производителей их называют индуктивными, в противоположность емкостным. По моему всё именно так.
А вот емкостные трансформаторы напряжения, или же всё таки емкостные делители напряжения… Тут история умалчивает. Принцип работы такого оборудования можно понять, если нарисовать схему.

Вот, например схема ТН марки НДЕ-М. Они выпускаются на напряжение выше 110кВ. Состоит из емкостного делителя и электромагнитного устройства.
Емкостной делитель состоит из конденсаторов С1 и С2. Принцип емкостного делителя в следующем. Напряжение линии Л делится обратно пропорционально величинам емкостей С1 и С2. То есть мы подключаем к С2 наш ТН и напряжение на нем пропорционально входному, которое идет по Л, но гораздо меньше его. Раз рассматриваем НДЕ, то вот табличка величин напряжения для разных классов оборудования.

Электромагнитное устройство состоит из понижающего трансформатора, реактора и демпфера.
Реактор предназначен для компенсации емкостного сопротивления и следовательно уменьшения погрешности.
Электромагнитный демпфер предназначен для устранения субгармонических колебаний, которые могут возникать при включениях и коротких замыканиях в обмотках ТНа.
Чем выше класс напряжения, тем емкостные трансформаторы напряжения выгоднее своих собратьев. За счет снижения размеров изоляции и материалов.
Самое популярное
























































