Виды электрических схем
1.1. Структурная схема
Этот тип документа является наиболее простым и дает понимание о том, как работает электроустановка и из чего она состоит. Графическое изображение всех элементов цепи позволяет изначально увидеть общую картину, чтобы переходить к более сложному процессу подключения или же ремонта. Порядок чтения обозначается стрелочками и поясняющими надписями, что позволяет разобраться в структурной электрической схеме даже начинающему электрику. Принцип построения Вы можете увидеть на примере ниже:

Рисунок 1 — Структурная схема
1.2. Функциональная схема
Функциональная электросхема установки, по сути, не слишком отличается от структурной. Единственное отличие – более подробное описание всех составляющих узлов цепи. Выглядит этот документ следующим образом:

Рисунок 2 — Функциональная схема
1.3. Принципиальная схема
Принципиальная электрическая схема чаще всего применяется в распределительных сетях, т.к. дает самое раскрытое пояснение о том, как работает рассматриваемое электрооборудование. На таком чертеже должны обязательно быть указаны все функциональные узлы цепи и вид связи между ними. В свою очередь, принципиальная электросхема может иметь две разновидности: однолинейная (рисунок 3) или полная (рисунок 4). В первом случае на чертеже изображают только первичные сети, называемые также силовыми. Пример однолинейного изображения Вы можете увидеть ниже:

Рисунок 3 — Однолинейная принципиальная схема
Полная принципиальная схема может быть развернутой или элементной. Если электроустановка несложная и на один главный чертеж можно нанести все пояснения, достаточно сделать развернутый план. Если же Вы имеете дело со сложной аппаратурой, которая имеет в составе цепь управления, автоматизации и измерения, лучше разнести все отдельные узлы на разные листы, чтобы не запутаться.

Рисунок 4 — Полная принципиальная схема
Существует также принципиальная электросхема изделия. Этот тип документа представляет собой своеобразную выкопировку из общего плана, на которой обозначено только, как работает и из чего состоит определенный узел.
1.4. Монтажная схема
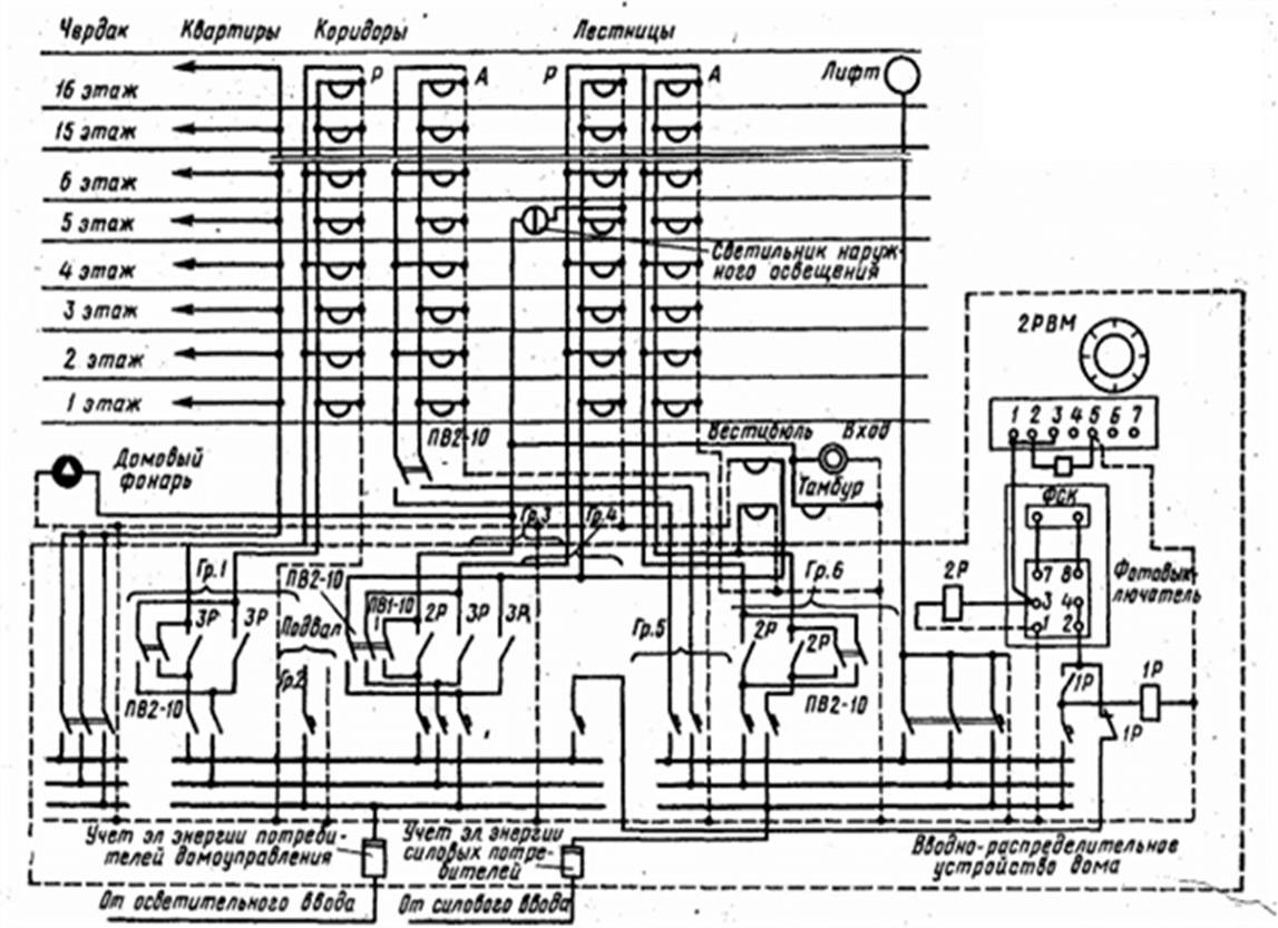
Эту разновидность электрических схем мы чаще всего используем, когда рассказываем о том, как самостоятельно выполнить монтаж электропроводки. Дело в том, что на монтажной электросхеме можно показать точное расположение всех элементов цепи, способ их соединения, а также буквенно-цифровые характеристики составляющих чертеж установок. Если взять за пример схему электропроводки в однокомнатной квартире рисунок 5, на ней мы увидим, где нужно размещать розетки, выключатели, светильники и остальные изделия.

Рисунок 5 — Монтажная схема
Основное назначение монтажной схемы – руководство для проведения электромонтажных работ. Согласно подготовленному чертежу можно понять, где, что и как нужно подключать.
1.5. Объединенная схема
Ну и последней из применяемых в распределительных сетях электросхемой является объединенная рисунок 6, которая может включать в себя несколько видов и типов документов. Ее используют в том случае, если можно без сильного нагромождения чертежа обозначить все важные особенности цепи. Используют объединенный проект чаще всего на предприятиях. Домашним мастерам такой тип схемы вряд ли может встретиться. Пример Вы можете увидеть ниже:

Рисунок 6 — Объединённая схема
Стандартные условные графические и буквенные обозначения элементов электрических схем.
=====================================================================================
Условные графические обозначения в электрических схемах
Скачать книгу…
Обозначения буквенно-цифровые в электрических схемах (ГОСТ 2.710 — 81)
Буквенные коды элементов приведены в таблице. Позиционные обозначения элементам (устройствам) присваивают в пределах изделия. Порядковые номера элементам (устройствам) следует присваивать, начиная с единицы , в пределах группы элементов , имеющих одинаковый буквенный код в соответствии с последовательностью расположения элементов или устройств на схеме сверху вниз в направлении слева направо.
Позиционные обозначения проставляют на схеме рядом с условным графическим обозначением элементов или устройств с правой стороны или над ними. Цифры и буквы, входящие в позиционное обозначение выполняются одного размера.
| Однобук- венный код | Группы видов элементов | Примеры видов элементов | Двухбук- венный код |
| A | Устройства (общее обозначение) | — | — |
| B | Преобразователи неэлектрических величин в электрические (кроме генераторов и источников питания) или наоборот | Сельсин — приемник | BE |
| Сельсин — датчик | BC | ||
| Тепловой датчик | BK | ||
| Фотоэлемент | BL | ||
| Датчик давления | BP | ||
| Тахогенератор | BR | ||
| Датчик скорости | BV | ||
| C | Конденсаторы | — | — |
| D | Схемы интегральные, микросборки | Схема интегральная,аналоговая | DA |
| Схема интегральная,цифровая, логический элемент | DD | ||
| Устройство задержки | DT | ||
| Устройство хранения информации | DS | ||
| E | Элементы разные | Нагревательный элемент | EK |
| Лампа осветительная | EL | ||
| F | Разрядники,предохранители, устройства защитные | Дискретный элемент защиты по току мгновенного действия | FA |
| Дискретный элемент защиты по току инерционного действия | FP | ||
| Дискретный элемент защиты по напряжению | FV | ||
| Предохранитель | FU | ||
| G | Генераторы, источники питания | Батарея | GB |
| H | Элементы индикаторные и сигнальные | Прибор звуковой сигнализации | HA |
| Индикатор символьный | HG | ||
| Прибор световой сигнализации | HL | ||
| K | Реле, контакторы, пускатели | Реле указательное | KH |
| Реле токовое | KA | ||
| Реле электротепловое | KK | ||
| Контактор, магнитный пускатель | KM | ||
| Реле поляризованное | KP | ||
| Реле времени | KT | ||
| Реле напряжения | KV | ||
| L | Катушки индуктивности,дроссели | Дроссель люминисцентного освещения | LL |
| M | Двигатели | — | — |
| P | Приборы, измерительное оборудование | Амперметр | PA |
| Счётчик импульсов | PC | ||
| Частотометр | PF | ||
| Счётчик реактивной энергии | PK | ||
| Счётчик активной энергии | PI | ||
| Омметр | PR | ||
| Регистрирующий прибор | PS | ||
| Измеритель времени, часы | PT | ||
| Вольтметр | PV | ||
| Ваттметр | PW | ||
| Q | Выключатели и разъединители в силовых цепях | Выключатель автоматический | QF |
| Разъединитель | QS | ||
| R | Резисторы | Термистор | RK |
| Потенциометр | RP | ||
| Шунт измерительный | RS | ||
| Варистор | RU | ||
| S | Устройства коммутационные в цепях управления, сигнализации и измерительных Примечание . Обозначение применяют для аппаратов не имеющих контактов силовых цепей | Выключатель или переключатель | SA |
| Выключатель кнопочный | SB | ||
| Выключатель автоматический | SF | ||
| Выключатели, срабатывающие от различных воздействий: -от уровня | SL | ||
| -от давления | SP | ||
| -от положения | SQ | ||
| -от частоты вращения | SR | ||
| -от температуры | SK | ||
| T | Трансформаторы, автотрансформаторы | Трансформатор тока | TA |
| Трансформатор напряжения | TV | ||
| Стабилизатор | TS | ||
| U | Преобразователи электрических величин в электрические | Преобразователь частоты, инвертор, выпрямитель | UZ |
| V | Приборы электровакуумные и полупроводниковые | Диод, стабилитрон | VD |
| Приборы электровакуумные | VL | ||
| Транзистор | VT | ||
| Тиристор | VS | ||
| X | Соединения контактные | Токосъёмник | XA |
| Штырь | XP | ||
| Гнездо | XS | ||
| Соединения разборные | XT | ||
| Y | Устройства механические с электромагнитным приводом | Электромагнит | YA |
| Тормоз с электромагнитным приводом | YB | ||
| Электромагнитная плита | YH |
studopedia.net
Условное обозначение розетки на схеме
Одним из наиболее распространенных элементов домашней электросети является электрическая розетка. На схеме она может выглядеть в виде различных обозначений, которые зависят от типа и конструкции этого устройства.
Важнейшим этапом обустройства электрической проводки является составление плана размещения всех ее элементов.
Грамотное нанесение на электрическую схему всех составных частей электросети обеспечивает правильность планирования необходимого количества материалов, а также высокий уровень электробезопасности.
Совет
Правильно составленная схема значительно облегчает выбор типов необходимого оборудования.
План электрической проводки составляется с учетом масштаба помещений и особенностей его планировки.
Руководящие документы
Для того чтобы унифицировать обозначения, используемые в электрических схемах, еще в советское время был принят ГОСТ 21.614-88 «Изображения условные графические электрооборудования и проводок на планах».
В соответствии с этим документом, для обозначения всех элементов электросети используются простейшие геометрические фигуры, позволяющие легко наносить, а также идентифицировать тот или иной элемент на электрической схеме.
Жесткие требования к выполнению подобных чертежей исключают путаницу и двоякое толкование всех нанесенных на схеме символов, что крайне важно при выполнении монтажных работ в электрической сети
Обозначения элементов открытой установки
Простейшая двухполюсная электрическая розетка открытой установки без заземляющего контакта изображается на электрической схеме в виде полукруга с чертой, проведенной перпендикулярно к его выпуклой части.
Обозначение сдвоенной розетки отличается от предыдущего наличием двух параллельных линий. Графический символ, соответствующий трехполюсному изделию, представляет собой полукруг, к выпуклой части которого примыкают три линии, сходящиеся в одной точке и расположенные веером.
Розетки для скрытой электропроводки
Скрытая электропроводка является наиболее распространенным типом домашней электрической сети. Для ее прокладки используются устройства, встраиваемые в стену при помощи специальных монтажных коробок.
Единственным отличием обозначения подобных розеток от приведенного выше рисунка является перпендикуляр, опускаемый от середины прямого отрезка к центру окружности.
Устройства с повышенной защитой от пыли и влаги
Рассмотренные розетки не отличаются высоким уровнем защиты от проникновения в их корпус твердых предметов, а также влаги. Такие изделия могут применяться во внутренних помещениях, где условия эксплуатации исключают подобные воздействия.
Что касается устройств, предназначенных для установки на открытом воздухе или, например, в ванных комнатах, то согласно принятой классификации степень их защиты должна быть ниже IP44 (где первая цифра соответствует уровню защиты от пыли, вторая – от влаги).
Такие розетки обозначаются на схеме в виде полностью закрашенного черным цветом полукруга. Как и в предыдущем случае, двухполюсные и трехполюсные влагозащищенные розетки обозначаются соответствующим количеством отрезков, примыкающих к выпуклой части полукруга.
Выключатели
Выключатель на схеме обозначается в виде окружности, к которой под углом 45 с наклоном в правую сторону проведена черта, имеющая на конце один, два или три перпендикулярных отрезка (в зависимости от количества клавиш изображаемого выключателя).
Изображение выключателей скрытой установки такое же, только отрезки на конце наклонной черты проводятся в обе стороны от нее на одинаковое расстояние.
Стоит обратить внимание на изображение проходных выключателей, которое напоминает два обычных выключателя, зеркально отраженных от центра одной окружности
Блоки розеток
Нередко в плане домашней электросети необходимо предусмотреть установку блоков, включающих в себя различное количество наиболее распространенных элементов – розеток и выключателей.
Простейший блок, содержащий в своем составе двухполюсную розетку, и одноклавишный выключатель скрытой установки изображается в виде полукруга, от центра которого проведен перпендикуляр, а также линия под углом 45 , соответствующая одноклавишному выключателю.
Аналогичным образом наносятся на схему блоки, содержащие различное количество розеток и выключателей. Например, блок скрытой установки, имеющий в своем составе двухполюсную розетку, а также одноклавишный и двухклавишный выключатели, имеет обозначение:
Условные графические обозначения на электросхемах
В связи с тем, что на данный момент существует огромное количество всевозможных элементов электросхем, для каждого из них нужно свое обозначение в виде символов, букв и цифр, а также графических изображений. Чтобы не было разногласий и разночтений, были разработаны нормативные документы, которые недвусмысленно закрепляют за каждым элементом буквенно-цифровое и графическое обозначение. Следующий список включает все основные стандарты условностей:
- ГОСТ 2.710 81 — Требования государственного стандарта к буквенно-цифровым обозначениям различных конструктивных электроэлементов и электроприборов;
- ГОСТ 2.747 68 — Требования к размерным характеристикам графических изображений;
- ГОСТ 21.614 88 — Нормы, которые приняты для планирования монтажа электрооборудования и электропроводки;
- ГОСТ 2.755 87 — Требования по обозначению на схеме контактов, соединений и коммутационного оборудовании;
- ГОСТ 2.709 89 — Стандарт, регулирующий обозначение соединений контактов и проводки;
- ГОСТ 21.404 85 — Требования по обозначению средств автоматизации при описании технических процессов на предприятии.

Перед тем, как перейти к обозначениям элементов схем, следует сказать, что и сами схемы имеют буквенное обозначение. Так, структурные схемы обозначаются цифрой 1, функциональные схемы — 2, принципиальные (полные) схемы — 3, монтажные схемы (схемы соединений) — 4, схемы подключения — 5, общие схемы — 6, схемы расположения — 7, а схемы объединения — 0.

По видам обозначения также имеются:
- электрические схемы — Э;
- гидравлические схемы — Г;
- пневматические схемы — П;
- газовые схемы — Х;
- кинематические схемы — К;
- вакуумные схемы — В;
- оптические схемы — Л;
- энергетические схемы — Р;
- схемы деления — Е;
- комбинированные схемы — С.
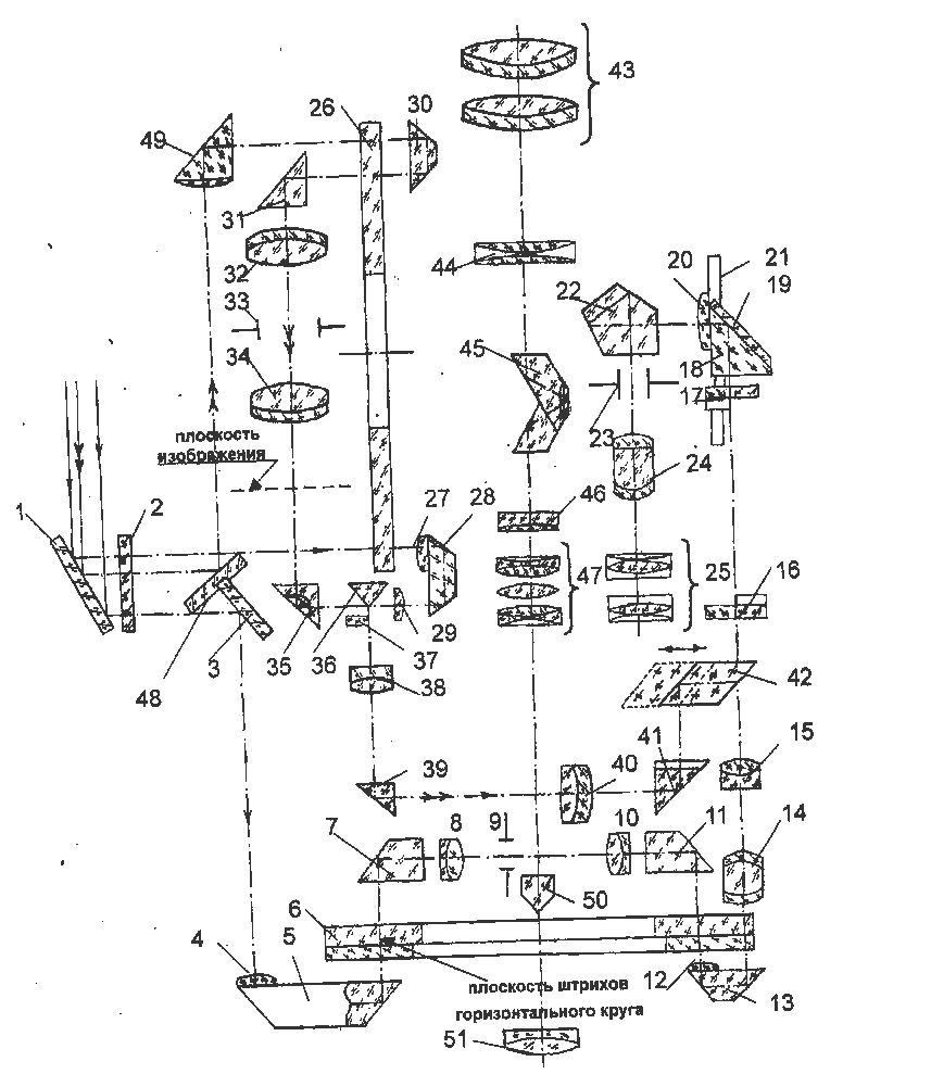
Оптическая схема теодолита
Для всех типов графических документов существуют свои обозначения, которые регулируются специальными государственными стандартами и прочими документами нормативного характера. Например, можно привести основные графические обозначения для некоторых видов электросхем. В функциональных схемах часто обозначаются основные узлы и средства автоматизации.

Согласно картинке, обозначения следующие:
- А — Приборы, которые установлены за электрическим щитом или распределительной коробкой. 1 — основной вид, 2 — допускаемый;
- В — Приборы, которые установлены в пределах электрического щитка или распределительной коробки;
- С — Графическое представление исполнительных механизмов;
- D — Способ влияния исполнительного механизма на орган, который его регулирует в случае отключения питания элемента. Первый вариант — открытие органа регулирования, второй — его закрытие, а третий — отсутствие каких-либо изменений;
- E — Исполнительный механизм с установленным ручным приводом. Такой тип механизма может быть указан также в любом случае из предыдущего пункта списка;
- F — Изображение линий связи: 1 — общая линия, 2 — линия пересечения без соединения, 3 — линия с соединениями.
В однолинейных и полных схемах есть несколько видов обозначений. Ниже будут приведены самые распространенные из них.

На данном изображении приведены следующие виды источников питания:
- А — источники постоянного тока и напряжения. Их полярность определяется знаками «+» и «-» на разных сторонах;
- B — переменное напряжение;
- C — переменное и постоянное напряжение, которое используется в устройстве, которое может работать ото всех типов электроэнергии;
- D — Источник питания аккумуляторного или гальванического типа;
- E — Схематическое изображение батареи или аккумулятора, который состоит из нескольких элементов питания.

Обозначения электромеханических элементов и устройств включает в себя:
- А — Катушки электрических приборов, к которым относятся реле, магнитные пускатели и так далее;
- В — графические обозначения для воспринимающих частей тепловых элементов;
- С — Катушка прибора с блокировкой механического типа;
- D — Контактные элементы приборов коммутации, включающие замыкающие, размыкающие и переключающие типы;
- Е — УГО для переключателей и кнопок;
- F — Обозначение рубильника.
Подробнее о расположении и обозначениях розеток на чертежах
Как обозначается электрическая розетка на чертеже, схеме?
Прокладывание проводки в помещении начинается с разработки проекта — составления и утверждения электросхемы. Условные обозначения на строительных схемах регламентируются ГОСТ 21.614-88.
Что касается обозначения розетки на электрической схеме, то его определяет ГОСТ 21.608-84. Согласно данному нормативному документу, все штепсельные розетки подразделяются на:
- те, которые предназначаются для открытой установки;
- те, которые устанавливаются скрытым способом;
- блоки, состоящие из электророзетки с выключателем.
Данные виды розеток могут быть одно-, двух- или трехполюсными. Двух- и трехполюсные источники электропитания могут обладать защитным контактом.
Условные обозначения розетки на схеме продемонстрированы на фото ниже. 
Чем отличаются план и схема электропроводки, и какие особенности их составления?
План электропроводки отличается от схемы тем, что на нем отображаются все особенности помещения, может осуществляться привязка к масштабу.
Сначала на бумаге вычерчивается полная планировка квартиры, включая жилые комнаты, санузел, кухню и прихожую. Далее на плане схематически намечают окна, двери, лоджию/балкон. Можно также отметить расположение бытовой техники и мебели — это даст полную картину прокладки проводки.
Далее производится разметка групповых электролиний — их количество зависит от площади квартиры, ее планировки, оснащения бытовой техникой. Чтобы равномерно распределить нагрузку, линии для электрических приборов и освещения лучше разделить. Затем производится обозначение розеток на чертежах, выключателей, лампочек.
Изображение ниже продемонстрирует пример плана проводки в двухкомнатной квартире, а также то, как на чертежах обозначаются розетки и выключатели.
Подскажите, какое размещение розеток оптимальное для кухни?
В кухонном помещении часто устанавливается крупногабаритная техника (электроплита, холодильник, посудомоечная машина, вытяжка, СВЧ-печь) — данные приборы нуждаются в стационарном электроснабжении. Поэтому на вопрос как на кухне расположить розетки для этих приборов есть один ответ — внизу.
Для мелких бытовых приборов, которые используются периодически (тостер, чайник, кухонный комбайн), можно использовать дополнительные источники питания, расположенные в фартуке, либо встроенные в столешницу.
Розетку для вытяжки лучше разместить над кухонным гарнитуром. Если вытяжка встроенная, источник питания лучше поместить внутрь того шкафчика, в который она вмонтирована. Также сверху можно расположить розетки для мебельного освещения.
Запрещено размещение розетки на кухне:
- над мойкой;
- плитой;
- непосредственно за корпусом бытового прибора.

Как правильно обозначить выключатели на строительных схемах?
Как и розетки, выключатели света заносятся в проектную документацию. Рассмотрим, как на схеме обозначается выключатель света.
Обозначение выключателей регламентируется ГОСТ 21.614-88 и зависит от их конструкции, параметров работы и степени защиты. Конструкционно выключатели делятся на одно-(сдвоенные или строенные), двух- и трехполюсные. Также существуют отдельные обозначения для выключателей открытой и закрытой установки, моделей с разной степенью защиты.
Данный ГОСТ определяет также обозначения для переключателей – электромеханических устройств, которые используются для соединения/разъединения электрических цепей.
Существуют ли правила, регулирующие количество и размещение розеток в доме, или квартире?
Четких правил, регламентирующих расположение розеток в квартире или частном доме, не существует. В СП 31-110 от 2003 года рекомендовано устанавливать выключатели по стороне дверной ручки. Для удобного использования источника электроэнергии, он должен находиться не выше 1 м от пола. Установка розеток под потолком допускается в том случае, если управление ими производится при помощи шнура.
В целях безопасности, розетка должна находиться на расстоянии 0,5 м от газопровода и 0,6 м от раковины, мойки, душевой.
Как и где размещать розетки в квартире зависит от предназначения помещения. В коридоре достаточно одной розетки в углу возле плинтуса для подзарядки телефона. В ванной комнате можно установить 1-2 розетки (возле зеркала и для стиральной машины), на кухне и в гостиной — 2-4 (в зависимости от количества бытовой техники).
- Замена электропроводки в квартире: видео урок, как поменять проводку в квартире панельного дома
- Трубы для электропроводки ПВХ, ПНД, ДКС; пластиковые и стальные; гофротруба и металлорукав для электропроводки
- Как установить розетку с заземлением или перенести: выбор высоты, сборка установочной коробки и монтаж розеток
1 Область применения
Для изображения коммутационных устройств, входящих в электросистему, используют 4 основных обозначения.
Пример однолинейной схемы Монтажные электрические схемы. Е — ИМ, на который дополнительно установлен ручной привод. Как соединяются радиоэлементы в схеме Итак, вроде бы определились с задачей этой схемы.
Внутри групп устройства делятся по количеству полюсов, наличию защиты.
Иногда номинальные данные не указывают, в этом случае параметры элемента не имеют значения, можно выбрать и установить звено с минимальным значением. Самый простой пример — обыкновенный выключатель. Для обозначения радиоэлементов используются однобуквенные и многобуквенные коды. Пусть это будет значок R2.
Звонок на электрической схеме по стандартам УГО с обозначенным размером Размеры УГО в электрических схемах На схемах наносят параметры элементов, включенных в чертеж. Рисунок 6 Допускается при изображении на схеме элемента или устройства разнесенным способом позиционное обозначение каждой составной части элемента или устройства проставлять, как при совмещенном способе, но с указанием для каждой части обозначений выводов контактов. В принципиальных схемах разных отраслей имеются отличия в изображении отдельных элементов.
ОБОЗНАЧЕНИЯ БУКВЕННО-ЦИФРОВЫЕ В ЭЛЕКТРИЧЕСКИХ СХЕМАХ
Включают в разработанные чертежи электрификации домов, квартир, производств. Если невозможно указать характеристики или параметры входных и выходных цепей изделия, то рекомендуется указывать наименование цепей или контролируемых величин. Поэтому, эта статья в основном именно для них.
Прописывается полная информация об элементе, емкость, если это конденсатор, номинальное напряжение, сопротивление для резистора. Второй вид более современный и активно применим, особенно в импортном оборудовании. Однобуквенная символика элементов Буквенные коды, соответствующие отдельным видам элементов, наиболее широко применяющихся в электрических схемах, объединяются в группы, обозначаемые одним символом. Примеры условных обозначений электроприборов и средств автоматизации в соответствии с ГОСТом
Основные базовые изображения Электрические цепи ведут к устройствам и установкам, которые оборудованы контактами, способными разорвать или соединить эти цепи. Вся информация представлена блоками с подписями — наименованиями устройств.
Условные графические обозначения радиоэлементов
Параллельное подключение динамиков
На рисунке слева изображено параллельное подключение двух динамиков. Плюс с усилителя подаем на плюсовой вход динамика А, минус — на минус колонки B. Далее, плюсовой выход колонки B заводим на плюс А, минус А — на минус B. Со схемой, вроде, понятно.
Что же с сопротивлением? Каким будет результирующее сопротивление двух подключенных параллельно динамиков? Если параллельное подключили две одинаковых колонки, то суммарное сопротивление такой связки будет в два раза меньше. То есть, фактическое сопротивление колонки делим на два.

Как подключить два динамика на один канал параллельно
На рисунке обозначено сопротивление обеих рупоров в 2 Ома. Общее при параллельном соединении будет 1 Ом. То есть получается что при параллельном подключении динамиков выходная мощность сигнала получается выше, чем при подключении одного. Использование такой низкоомной нагрузки возможно при подключению к сабвуферу.
Параллельное подключение трех и более динамиков на канал
Принцип подключения трех и более динамиков параллельно на один канал такой же. Плюс с выхода усилителя подаем на все подключаемые динамики. Минус — на все минусы.

Подключение трех и более динамиков на один канал параллельно
В результате получается, что сигнал на каждый из элементов схемы приходит одинаковый. А ток разделяется на «ручейки», то есть становится меньше. И ток, который протекает чрез динамик, зависит от сопротивления этого элемента.
Мощность при параллельном соединении
Для расчета мощности, которая пойдет от усилителя на канал при параллельном соединении та же. Po = Pr * Zr/Zt. Вот только частное Zr/Zt будет больше. Ведь, как уже было сказано раньше, суммарное сопротивление при параллельном соединении динамиков уменьшается. Как в примере выше — при подключении двух динамиков по 4 Ома в параллель, результирующее сопротивление будет 2 Ома. Если подставить в формулу данные из рассмотренного ранее примера (для последовательного соединения), то получим, что при мощности усилителя 100 Вт, в канал будет уходить 100 Вт * 4 Ома/2 Ома канал уйдет = 100 Вт * 2 = 200 Вт. То есть, на канал уйдет 200 Вт. Но при этом усилитель должен работать с низкоомной нагрузкой.

Как подключить 2 динамика на один канал -один из вариантов.
Это свойство можно использовать, если у вас усилитель маломощный, а хочется громкого звука. Но нужны колонки, которые могут работать с большими мощностями. Это, вообще-то не проблема. Есть варианты рассчитанные на сотни ватт. Вот только стоят они соответственно.
А еще важна способность усилителя работать с низкими нагрузками
Так что тут обращайте внимание на такой параметр, как минимальная нагрузка. И, снова-таки, лучше чтобы нагрузка была немного выше минимума. Работа на пределе характеристик — всегда ускоренный выход из строя
Работа на пределе характеристик — всегда ускоренный выход из строя.
Есть варианты рассчитанные на сотни ватт
Обращайте внимание на такой параметр, как минимальная нагрузка. И, снова-таки, лучше чтобы нагрузка была немного выше минимума. Работа на пределе характеристик — всегда ускоренный выход из строя
Работа на пределе характеристик — всегда ускоренный выход из строя.
Как уже говорили, стоит избегать работы на пределе. Это касается и динамиков, и усилителя. Сейчас можно подобрать оборудование, практически, под любые требования.
























































