Преимущества и недостатки установки
Выгодно ли ставить счетчик? Потребительские нормативы рассчитывают 10 кубометров газа на одного человека в месяц. Семья из 4 человек оплачивает 40 куб. м. природного топлива в месяц. Реальные расходы значительно меньше. На количество используемого газа влияет ряд факторов:
- как часто собственники находятся дома;
- сколько людей реально живет в квартире;
- температура воздуха в доме;
- насколько активно владельцы пользуются газом;
- используются ли дополнительные приборы обогрева и т. д.
Если в квартире прописано, например, 3 человека, а фактически проживает 1, счетчик однозначно нужен. Потребителю не придется переплачивать в 3 раза.
В частном доме потребляют больше газа. Необходим мощный прибор. Для установки на улице нужен счетчик с термокорректором. Такая процедура обходится дороже – примерно 10 000 рублей. Однако экономия будет больше. Если площадь дома превышает 100 кв. м, измеритель сэкономит порядка 45 000 рублей в год.
Преимущества установки газового счетчика:
- экономия средств (до 30 % в месяц);
- безопасное потребление газа;
- владельцы газомеров могут не спрашивать разрешение на автономное отопление у газовых служб.
Недостатки:
- затраты на приобретение и монтаж оборудования непосильны для многих граждан;
- газомеры нуждаются в профилактическом осмотре (регулярность проверок указана в техпаспорте, обычно 1 раз в 5 лет);
- многие счетчики характеризуются повышенным уровнем шума.
В помещениях с газовыми плитами лучше использовать электронные устройства.
Обязательность поверки и проверка газовых счетчиков для частного дома
Поверка и проверка имеют одну и ту же цель – установить пригодность прибора для дальнейшего пользования. В данном случае будут применяться два термина, чтобы выделить особенности одной и другой процедуры.
За целостность прибора и пломбы несет ответственность пользователь. Он должен периодически осматривать счетчик и в случае обнаружения дефектов обязан немедленно сообщить в газовую службу. К неисправностям можно отнести:
За целостность счетчика и пломб ответственность несет потребитель.
- повреждения корпуса;
- нарушение целостности пломбы;
- сомнения в правильности показаний;
- подозрения на некорректную работу счетного механизма.
Данные обязательства прописаны в договоре, который заключают между собой потребитель и организация, обслуживающая газовые сети. Обязательством со стороны службы является устранение недостатков в течение месяца, а также проверка состояния газового счетчика, сроки которой определены в документе как один раз в полгода.
Интервал поверок прибора учета газа определяется заводом-изготовителем и отмечается в паспорте изделия. Данный вид проверки связан со снятием прибора. (Поверка отдельных видов счетчиков не требует их демонтажа, но такие модели в частных домах практически не используются). Обеспечение доставки прибора в метрологическую службу для проведения поверки входит в обязанности пользователя. Предшествуют транспортировке распломбировка и демонтаж счетчика, которые могут выполнить только специалисты.
Популярные модели
Для того чтобы выбрать счётчик газа, надо ориентироваться в моделях, предлагаемых ведущими производителями России. Наиболее популярными компаниями, получившими одобрение экспертов и множество положительных отзывов, являются:
- Бетар. По оценкам торговых специалистов, популярнейшая компания, по производству ультразвуковых и диафрагменных газовых счётчиков.
- Газдевайс – производитель известных марок диафрагменных и ультразвуковых моделей приборов учёта.
- Гастройнефть – компания выпускает струйное оборудование с термокоррекцией.
- Сигнал – диафрагменные счётчики.
- Тайпит – диафрагменные и струйные средства учёта природного газа.
Популярные механические счётчики:
- Бытовые счётчики ВК-G1,6 (ООО «ЭЛЬСТЕР Газэлектроника», г. Арзамас), выпускаемые по лицензии немецкой фирмы «Elster GmbH», предназначены для измерения бутана, пропана, природного газа. Они устанавливаются в частных жилых строениях, квартирах, коммунальном бытовом хозяйстве.

Паспортные данные:
- Вес: 1,9 кг.
- Габариты, мм: 195×212×155.
- Срок службы: 24 года.
- Интервал между поверками: 10 лет.
- Гарантия: 3 года.
Достоинства:
- Компактность.
- Есть левые и правые счетчики.
- Высокая точность измерения.
- Низкий уровень шума.
- Работоспособность при высоком уровне загрязнения.
- Стойкость к коррозии.
- Блокировка обратного хода.
- Температурная компенсация.
- Надёжность в эксплуатации.
- СГК-G4 Сигнал (ООО «ЭПО СИГНАЛ», г. Энгельс). Счётчик предназначен для установки в частных домах, квартирах, общественных учреждениях, мастерских и на территории промышленных предприятий.

Технические характеристики прибора:
- Масса: не более 2,5 кг.
- Габариты, мм: 220×173×193.
- Срок службы: 20 лет.
- Интервал между поверками: 10 лет.
- Гарантия: 2 года.
Преимущества:
- Эстетичное исполнение.
- Малая величина погрешности.
- Отсутствие шума.
- Незначительное пневматическое сопротивление.
- Наличие фиксатора, блокирующего обратное вращение счётчика.
- Антивандальная защита.
- Бытовой счётчик мембранного типа СГД-3Т-G6 бытового, коммунального или производственного назначения.

Технические данные:
- Вес: 3,8 кг при межцентровом расстоянии в 200 мм; 4,3 кг при межцентровом расстоянии в 250 мм.
- Габариты, мм: 265×185×250 (200 мм); 310×185×245 (250 мм).
- Нормативный срок эксплуатации: 20 лет.
- Интервал между поверками: 8 лет.
- Гарантийный срок: 2 года с момента установки.
Достоинства:
- Простота и надёжность.
- Бесшумность работы.
- Защита от внешних несанкционированных вмешательств и вредных воздействий окружающей среды.
- Температурная компенсация.
- Простота снятия показаний.
- Счётчик газа для частных домов NPM (НПМ) наиболее эффективен в случае одновременной работы газового котла и плиты. При меньшей нагрузке его работа нестабильна.

Основные характеристики:
- Масса: не более 1,8 кг.
- Габариты, мм: 188×163×218.
- Срок службы: 20 лет.
- Интервал между поверками: 10 лет.
- Гарантийный срок эксплуатации: 2 года.
Особенности прибора:
- Возможность уличной установки.
- Прочный корпус.
- Устойчивость к перепадам давления.
- Антикоррозийная защита.
- Блокировка обратного хода.
- Модифицированная модель с датчиком импульсов.
- Промышленный газовый счётчик СГ 16 (МТ)-100 – достаточно надёжное устройство, применяемое в промышленности и коммунальном хозяйстве для коммерческого учёта.

Паспортные характеристики:
- Масса: не более 5 кг.
- Условный проход – 50 мм; длина – 240 мм; высота – 255 мм.
- Срок службы: 10 лет.
- Интервал между поверками: 3 года.
- Срок гарантии: 2 года с начала эксплуатации.
Достоинства измерителя:
- Набор типоразмеров.
- Простота монтажа и эксплуатации.
- Неприхотливость в работе.
- Широкий диапазон рабочих температур.
Среди недостатков можно отметить: большой вес, некрасивый вид, малый интервал времени между поверками.
- Механический расходомер СГМН-1-1-1 G4 мембранный прибор белорусского производства, хорошо зарекомендовавший в коммунальных и промышленных предприятиях.

Паспортные данные:
- Вес: 3,8 кг.
- Габариты (длина-высота-ширина), мм, не более: 307×165×223.
- Срок службы счётчика: 20 лет.
- Интервал поверок: 8 лет.
- Гарантийный срок работы: 24 месяца.
Плюсы:
- Высокая точность показаний.
- Простота и надёжность конструкции.
- Цена.
- Антикоррозийная защита и способность выдерживать широкий диапазон температур: от – 400 C до + 600 C.
- Простота снятия показаний
Приобретая механический счётчик газа, надо учитывать, что сам прибор не экономит топливо. Его установка позволяет вести точный учёт израсходованного газа без усреднённых показателей. Поэтому окупится он только в течение нескольких лет экономичной эксплуатации.
По какому принципу работают газовые счётчики
По принципу работы различают 5 видов счётчиков, среди которых:
- мембранный;
- ротационный;
- тахометрический турбинный;
- вихревой;
- струйный.
Человек, который никогда не сталкивался с подобным оборудованием, вряд ли разберётся с их работой без дополнительной информации. Для того чтобы всё понять, и существует наш ресурс.
Габариты счётчиков газа играют большую роль в выборе устройстваФОТО: progazservis.ru
Мембранные счётчики и что они собой представляют
Наиболее надёжное и востребованное устройство, особенно в частных секторах. Принцип работы, если говорить проще, состоит в перепускании газа из одного резервуара (их внутри расположено несколько) в другой, затем третий и т.д. При наполнении резервуара срабатывает мембрана, перепускающая газ, и он проходит дальше. Смысл в том, что прибор учитывает число срабатываний диафрагм и на основе этого производит вычисления по потреблению. Это уже просто, если в нём заложен объём каждого из резервуаров.
Так изнутри выглядит мембранный счётчик газаФОТО: 123vid.top
Минус таких приборов в громоздкости, поэтому в квартирах их стараются не устанавливать. К тому же при работе они довольно ощутимо шумят.
Ротационные приборы учёта: особенности эксплуатации
Эти устройства более компактны, но использовать их можно не везде. Допускается их монтаж лишь на вертикальную трубу и при подаче газа сверху вниз.
Ротационный счётчик с виду кажется очень тяжёлымФОТО: ukrgazavt.com.ua
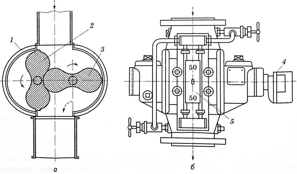
Внутри него расположена камера, в которой находится две лопасти (они имеют форму восьмёрки), плотно подогнанные одна к другой. При проходе газа они начинают вращаться, передавая крутящий момент через шестерню на счётный механизм.
Недостатком подобных моделей можно назвать изнашиваемость механизма, что и определяет малый поверочный интервал – 5 лет.
Схематическое изображение ротационного прибора учёта газа, где: 1 – корпус; 2,3 – лопастиФОТО: ukrgazavt.com.ua
Тахометрический турбинный счётчик, его применение
Такой прибор относится к промышленным. Его работа основана на вращении турбины под воздействием давления проходящего газа, находящейся внутри корпуса. Основной проблемой такого устройства является быстрое высыхание вращающихся узлов, поэтому здесь необходима постоянная подача масла. Она осуществляется специально устанавливаемым насосом.
Конструкция прибора надёжна, неприхотлива и проста в обслуживании, но имеют один существенный недостаток. При прерывистой подаче газа, как в домах, возрастает погрешность, а потому рекомендуется их устанавливать только на магистрали с постоянным давлением.
Тахометрический турбинный счётчик используется в промышленных целяхФОТО: russian.alibaba.com
Вихревые устройства и чем они отличаются
Принцип работы приборов заключается в оценке частот колебаний, возникающих при вихреобразной форме потока газа. Эти счётчики можно назвать наиболее редкими, их стоимость высока и применяются они чаще лишь на газораспределительных подстанциях.
Одна из моделей вихревых счётчиков газаФОТО: signum-group.ru
Ультразвуковые и струйные счётчики для частных домов и квартир
Это наиболее распространённые приборы учёта, устанавливаемые в квартирах или домах с небольшим потреблением газа.
Ультразвуковые счётчики пропускают волны сквозь проходящую газовую среду, учитывая разницу их прохождения. На этом и основываются расчёты и вычисление потребления. Межповерочный интервал составляет 6 лет.
Ультразвуковой прибор удобен для учёта расхода в квартиреФОТО: schetgaza.ru
Струйные устройства довольно компактны и могут быть установлены как вертикально, так и горизонтально. Принцип работы несложен. Через тонкое сопло газ подаётся на элемент, который и вырабатывает импульсы. При этом, чем выше давление, тем больше импульсов будет отправлено на контроллер. Подобные счётчики оснащаются жидкокристаллическим дисплеем, на который и выводятся показания.
Струйные приборы учёта довольно распространены в домах и квартирахФОТО: vsenovostint.ru
Такая конструкция вполне надёжна и имеет минимум узлов, что повышает долговечность. Межповерочный интервал струйников достигает 12 лет, что часто и становится решающим аргументом при покупке.
Что необходимо знать перед установкой
В Закон “Об энергосбережении…” от 2009 года были внесены поправки, и обязательную установку ГС отменили. Оставили для тех, кто использует газ и на отопление дома, при этом расходуя более двух кубов в час.
Правила установки газового счётчика в частном доме предполагают подачу заявления в газоснабжающую организацию, с паспортом, документом, подтверждающим право собственности. Если ГС уже есть, тогда и тех. документацию на него.
Но лучше предварительно созвониться с газовой службой по поводу необходимых документов.
Хозяин-заказчик решает месторасположение счётчика – наружное или внутреннее. И с учётом его мнения и обязательных условий приехавшие специалисты от газовой службы определяют место для ГС. Обращаться лучше к специалистам, которые будут потом обслуживать. Раз закон позволяет одновременно исполнять и принимать, то надо этим пользоваться.
По договору пользователь обязан сообщать газовой компании об обнаруженных неисправностях: корпуса ГС, пломбы, сомнениях в правильной работе. Месяц отводится газовикам на устранение неисправностей и полгода – на очередную проверку ГС.
Совсем другое – поверка газового счетчика в частном доме. Для каждого вида счётчиков изготовителем установлена в паспорте ГС периодичность поверок, для чего счётчик демонтируется специалистами и далее доставляется пользователем в метрологию.
Надо знать дату изготовления. От неё отсчитывается срок следующей поверки. Проставляется в паспорте. Не стоит брать залежалый ГС.
При покупке счётчика надо уточнить у специалистов-установщиков: какая модификация нужна – право- или левосторонняя. На большинстве приборов направление потока (вправо или влево) указывается стрелкой.

Порядок действий и особенности монтажа
Установка газового счетчика в частном доме включает в себя:
- выбор и покупку ГС;
- платный заказ ТУ;
- платный заказ Проекта на установку;
- платные монтажные работы.
Обязательны требования СНиП 42-01-2002 и СП 42-101-2003. Для ГС внутри помещения:
- выбранное место должно обеспечить монтаж, обслуживание и ремонт;
- по расстояниям: не ниже полутора метров над полом, в 3-5 сантиметрах от стены и не ближе метра от потребляющего прибора;
- возможно размещение в смежном помещении с дверью;
- помещение хорошо вентилируемое.
Для ГС вне помещения: обеспечить защиту от солнца и дождя. Дополнительные расходы на сооружение короба для ГС или хотя бы навеса, прокладку труб и на обеспечение более мягкого температурного режима вполне окупаются возможностью приобретения дешёвых и надёжных мембранных счётчиков, которые довольно шумные для жилого помещения, а также экономией пространства в доме.
Далее работа ГС проверяется инженерами на стабильность, наличие помех ходу газа, его утечку. И фиксируются показания ГС.
Составляется Акт выполненных работ, один из экземпляров которого получает заказчик, вместе с квитанцией о произведённой им оплате.
И последний шаг перед заключением договора поставщика с заказчиком – пломбировка. Специалист поставщика газа проверяет соответствие установленного ГС проекту, ставит пломбу и тоже составляет акт.
Срок эксплуатации
Срок эксплуатации газового счетчика в частном доме зависит от вида модели, указан в паспорте. Диапазон возможных сроков: 10-25 лет.

Правила замены и переноса
Для замены ГС не обязательно обращаться в Горгаз, чаще удобнее и дешевле получится в сторонней компании, имеющей аккредитацию на такие работы. Дальше всё похоже с переносом.
Причин переносам ГС множество, например, перенос газового счетчика в частном доме из-за ремонта кухни. Или если нарушены правила размещения ГС.
Первым делом – позвонить в газовую службу, узнать, где получить форму заявления. Если изменения касаются всего газоснабжения дома, то потребуется участие инженеров-газовиков и согласование с ними. Потребуются те же документы, что и при установке ГС, плюс акт последней поверки. Могут потребовать подтверждения оплат услуг газовой конторы.
Составляется смета по переносу ГС, назначается дата работ, производится оплата. После проведения переноса проверяются стыки мыльной пеной. Подписывается Акт выполненных работ. И составляется Акт ввода ГС в эксплуатацию.
Для пломбирования счётчика нужно заполнить заявление в абонентском отделе. Срок на установку пломбы – 5 дней.
Лучшие бюджетные модели
Бетар СГБМ-1,6 1/2″
Струйный бытовой счетчик с электронным дисплеем.

Бетар СГБМ-1,6 1/2″
Достоинства:
- приемлемая цена;
- отвечает требованиями и стандартам ГОСТа;
- небольшой вес прибора;
- любой тип монтажа;
- простая установка;
- малогабаритность;
- дизайн;
- хорошая индикация;
- точность показателей;
- нормальная работа при низких и высоких температурах; уплотнительная резинка прочная.
Недостатки:
не обнаружено.
Элехант СГБ-1,8
Новинка 2021 года. Его удобные габариты и простота использования непременно понравятся потребителю.

Элехант СГБ-1,8
Достоинства:
- внешний вид;
- малый вес и размеры;
- работает накопительный принцип показаний;
- простой и быстрый монтаж;
- присоединительная резьба в соответствии со стандартами;
- точные показания.
Недостатки:
нет.
Гранд 4 (3/4″)
Его основное назначение – точное измерение объема природного газа, паров сжиженного газа, а также других неагрессивных газов при учете потребления топлива индивидуальными потребителями. Прибор прошел сертификацию в полном соответствии с действующим законодательством России, допущен к использованию на объектах промышленности и коммунального хозяйства.

Гранд 4 (3/4″)
Достоинства:
- компактность;
- разные виды монтажа без проведения газосварочных работ;
- имеется импульсный выход;
- интервал между поверками – не более 12 лет.
Недостатки:
- по отзывам быстро выходит из строя дисплей;
- собирается конденсат внутри.
Elster ВК-G4Т 110 мм 1 1/4″
Мембранный прибор с левым и правым направлением для использования в быту.

Elster ВК-G4Т 110 мм 1 1/4″
Достоинства:
- аккуратный внешний вид;
- качество сборки и материалов;
- наличие термокорректора;
- тихая работа прибора;
- тип коррекции – механический;
- номинальный расход — 4 м³/час;
- прибор отличается высокой степенью чувствительности;
- уровень шума – низкий;
- нормальная работа при низких и высоких температурах.
Недостатки:
вес.
Турбинные и ротационные счетчики газа для промышленности
В нашем ассортименте представлены промышленные турбинные и ротационные газовые счетчики, а также измерительные комплексы на их базе.
Промышленные газовые счетчики ротационного типа реализуют прямой метод измерений объема, прошедшего через счетчик газа. Прямой метод измерений объема заключается в периодическом заполнении измерительной камеры, образованной корпусом счетчика, и вращающимися роторами, выполненными в виде восьмерки, газом, поступающим на вход счётчика, и вытеснении этого объема на выход счётчика.
Применение ротационных счетчиков позволяет решить задачу обеспечения динамической точности при работе в импульсном режиме. Это достигается путём высокоточного конструктивного исполнения, обеспечивающего очень малые зазоры между корпусом и роторами. При прекращении потребления газа роторы останавливаются разрежением на входе счетчика, т.е. этот счетчик пригоден для прерывистого режима работы.
Следует отметить, что метрологические характеристики ротационных счетчиков газа не зависят от характера газового потока (его прямолинейности и однородности). Поэтому при их установке не требуется прямолинейных согласующих участков до счетчика и после счётчика, что упрощает и делает компактнее их монтаж.
Одной из наиболее популярных моделей приборов данного типа в линейке Elster остается ротационный газовый счетчик RVG G16-400. Несколько лет назад начат выпуск нового ротационного счетчика RABO. При его разработке нашли отражение все передовые конструктивные решения, которые сейчас имеются в счетчиках подобного типа, а также учтен опыт эксплуатации ротационных счетчиков. Благодаря этому удалось значительно улучшить метрологические характеристики, а также повысить стойкость к пневмоудару и улучшить другие эксплуатационные характеристики счетчика газа RABO, влияющие на надежность. Цена ротационного газового счетчика зависит от его типоразмера и комплектации.
Наибольшее распространение в области коммерческого учета газа в диапазоне расходов от 100 до 25000 кубических метров в час получили турбинные счетчики газа. Они реализуют косвенный метод измерений. Скорость вращения измерительного турбинного колеса таких счетчиков пропорциональна расходу газа. Диапазон измерений этих счетчиков 1:10, 1:20, 1:30.
Достоинствами турбинных счетчиков газа является их высокая точность, надёжность и простота эксплуатации. В целях избежания дополнительной погрешности следует обеспечивать их работу преимущественно в непрерывном режиме.
Для измерения больших расходов газа фирма ELSTER разработала оригинальную конструкцию газового счетчика TRZ. Главной особенностью этого прибора является наличие измерительного патрона, т.е. разбиение патронной части счетчика на прочный фланцевый корпус и заменяемый измерительный патрон. В корпусе счетчиков TRZ предусмотрены монтажные отверстия для дополнительной комплектации приборов датчиками импульсов, температуры, системы отбора давления
Мембранные счётчики
Такие счётчики имеют надёжную конструкцию, они достаточно точны и уже сумели хорошо показать себя в работе. Сегодня срок безотказной службы этих приборов равняется двадцати годам. Часто поверять их тоже не придётся, так что даже при высокой стоимости они оказываются экономичными в эксплуатации.

Мембранный счётчик
Как они устроены? В них есть две камеры, через которые последовательно проходит газ. Они отделены мембранами, которые соединены с подобием кривошипно-шатунного механизма. В результате движения поочерёдно прогибающихся мембран этот механизм передаёт вращение на счётное устройство.
Разновидности и особенности газовых счетчиков

Прибор выдерживает давление внутри магистрали до 50 кПа, закрывается корпусом, который защищает от загрязнений. При выборе учитывают количество счетчиков в строении, изучают технический паспорт.
Применяются виды счетчиков:
- расходомеры фиксируют количество вещества, проходящего по трубе за определенное время, и показывают кубометры за час (м³/ч);
- квантомеры имеют меньшую точность измерений и ставятся во внутренних хозяйственных или технологических магистралях, но не годятся для применения в коммерческих трубопроводах.
Прибор монтируется внутри постройки или снаружи, при этом учитывается температурный режим эксплуатации. Уличный счетчик должен иметь допуск при работе от -40 до +40°С. Наружные модели совмещаются с термокорректором, без которого эксплуатация снаружи не разрешается.
Согласно пропускным способностям

Показатель проводимости характеризует диапазон расходования, при котором не превышается погрешность замера, указанная производителем. Прибор характеризуется определенным значением и выбирается из стандартного ряда: 1; 1,6; 2,5; 4; 6. Минимальное расходование принимается по ширине диапазона счетчика, которое чаще всего определяется отношением Q min / Q max. Чувствительность устройства показывает наименьшее количество газа, при котором прибор работает, показания измеряются, а погрешность замеров отличается от нормативного предела.
Учетные узлы делятся по наивысшей пропускной способности:
- бытовые приборы пропускают 1 – 6 м³/ч, используются для квартир, офисов, частных домостроений;
- коммунально-бытовые — 10 – 40 м³/ч, ставятся в котельных и малых технологических конструкциях;
- промышленные — больше 40 м³/ч, монтируются в промышленных комплексах.
По принципу действия

Электронный прибор легко настраивается, отличается небольшими габаритами, функционирует бесшумно. Счетчик отличается высокой точностью, его проверку делают 1 раз в 10 лет. Линейка предусматривает модели для быта и производства. Недостатком является большая стоимость узла учета.
Роторный узел учета стоит намного дешевле электронного аналога и имеет компактные размеры, но недостатков у такого прибора гораздо больше:
- при повреждении корпуса есть утечка;
- проверка делается раз в 2 года;
- маленькое время службы;
- неточные показания;
- шум при работе.
Мембранный аналог отличается длительностью срока службы газового счетчика в квартире (до 30 лет) и успешно работает с газом плохого качества. Проверка рекомендуется 1 раз в 15 лет. Коробка учетного узла прочная и выдерживает высокотемпературное воздействие. Стоимость является приемлемой для широкого круга пользователей. Недостаток в значительных габаритах и шумности при работе.
Приборы учета для бытового сектора
По принципу действия приборы контроля расхода газа разделяют на следующие виды:
Для коммерческого учета в бытовом и коммунально-бытовом секторе используются мембранные счетчики. Принцип их функционирования основан на особенности конструкции, состоящей из нескольких камер. При поступлении газа происходит смещение мембран, и редуктором через систему рычагов приводится в действие счетный механизм.
Одним из вариантов бытового прибора мембранного типа является счетчик NPM G4 с пропускной способностью 4 м3/ч. Он производится в двух вариантах ─ левостороннем и правостороннем. Срок службы газового счетчика NPM G4 указывается в сопроводительных документах и составляет 20 лет с момента изготовления.
Газовые счетчики для частного дома: цена установки, необходимые условия
Установка газового счетчика требует определенных финансовых затрат. Основные из них следующие:
- приобретение счетчика;
- оплата разработки «Технических условий»;
- затраты на создание «Проекта на установку»;
- оплата монтажных работ.
Чтобы исключить претензии специалистов газовых служб при вводе счетчика в эксплуатацию, стоит знать основные требования к его размещению. Они регламентированы СНиП 42-01-2002 и СП 42-101-2003. Относительно счетчика на газ правила следующие:
- местоположение должно быть доступно для монтажа, обслуживания и ремонта;
- высота установки (от пола до прибора учета) – не менее 1,5 м;
- счетчик следует размещать на расстоянии не менее 1 м от газопотребляющего оборудования (колонки, плиты, котла);
- прибор учета может быть установлен в смежном помещении, отделенном от обустроенного газовыми приборами стеной, имеющей дверной проход;
- счетчик необходимо отстранить от стены на 3–5 см для создания антикоррозийных условий.
Более требовательны уличные газовые счетчики для частного дома. Цена их монтажа значительно превышает стоимость установки комнатного варианта вследствие необходимости выполнения большего объема работ и использования материалов. Вывод газового счетчика наружу – это дополнительные трубы, изготовление козырька или короба для защиты прибора от попадания солнечных лучей и осадков.
Цена монтажа уличных газовых счетчиков значительно превышает стоимость установки комнатных моделей.На заметку! Для размещения счетчика лучше выбирать помещение с хорошей вентиляцией. В случае ее отсутствия специалисты запретят монтаж в таком месте или потребуют обеспечить проветривание.
Распространенные вопросы
Мы собрали ответы на самые распространенные вопросы собственников. Они помогут определиться с целесообразностью установки приборов учета.
Нужно ли ставить счетчик на газ в 2021 году?
Да. В отапливаемых газом помещениях должны стоять приборы учета. Это поможет экономить природное топливо и сократит расходы собственников.
Как самому выбрать счетчик?
Чтобы сделать правильный выбор, обратите внимание на такие факторы:
Пропускная способность. Речь идет о максимальном количестве газа, который прибор может измерить за единицу времени.
Конструктивные особенности
Обратите внимание на подачу газа: слева или справа. Предварительно нужно набросать схему подключения счетчика.
Наличие термокорректора
Он обеспечивает более точный расход газового топлива. Термокомпенсатор учитывает изменения газа из-за колебаний температуры воздуха. Такие приборы устанавливают на улице.
При выборе газомера нужно учитывать место установки
Если счетчик будет находиться в квартире, важно обратить внимание на уровень шума. Слишком громкий аппарат будет причинять неудобства. Также обратите внимание на габариты
Для установки в квартире выбирайте счетчик небольших размеров
Также обратите внимание на габариты. Для установки в квартире выбирайте счетчик небольших размеров.
Законодательные инициативы

В конце 2018 года Госдума приняла закон об обязательном установлении «умных» электросчетчиков, которые будут подавать автоматически данные о количестве и качестве потребленной электроэнергии. Их внедрение осуществляется за счет гарантирующих поставщиков. В информационных изданиях появилась информация, что вице-премьер Д. Козак поручил ряду министерств проработку введения аналогичных приборов учета и для газа. Согласно протокола совещания о развитии интеллектуальных систем учета срок дан до марта 2021 года. Пресс-секретарь вице-премьера позже пояснил, что речи о возложении обязанности по установке таких счетчиков на граждан не идет, рассматривается сам вопрос о возможности их использования в сфере газоснабжения.
Пропускная способность
Пропускная способность показывает, какой максимальный объём газа может пропустить через себя счётчик за 1 час. Пропускную способность счётчика нужно подбирать, исходя из того, сколько газа суммарно потребляет газовое оборудование в квартире.
Для плиты можно ограничиться моделью с низкой пропускной способностью в районе 1,6 м3/ч. Если нужно подобрать газовый счётчик на плиту и колонку, то уже необходимо устройство с показателем 2,5 м3/ч.
Если есть котел, этот показатель должен быть увеличен до 4 – 6 м3/ч. Счётчики с пропускной способностью выше 6 м3/ч используются в промышленности и зачастую избыточны для частных домов и тем более квартир.

Чтобы было проще выбрать прибор, на счётчиках ввели специальную маркировку. Литера G показывает номинальную пропускную способность счётчика:
- G1,6 – Минимальный расход газа – 0,016 м3/ч. Номинальный – 1,6 м3/ч. Максимальный – 2,5 м3/ч.
- G2,5 – Минимальный расход газа – 0,025 м3/ч. Номинальный – 2,5 м3/ч. Максимальный – 4,0 м3/ч.
- G4,0 – Минимальный расход газа – 0,04 м3/ч. Номинальный – 4,0. м3/ч Максимальный – 6,0 м3/ч.
В заключение
Мнения о том, стоит или не стоит устанавливать счётчик, диаметрально противоположны. Если будет принят закон о штрафах за отсутствие прибора, они исчезнут сами собой, но пока… Вообще, если приобретать счётчик в проверенном или специализированном магазине, риск покупки некачественного товара будет стремиться к нулю. Главное – не искать прибор по более низкой, чем заявленная производителем, цене и подходить к выбору со всей ответственностью. А экономия будет, и в этом можно не сомневаться. Особенно, если прописанных на жилплощади много.
ВОЗМОЖНО ВАМ ТАКЖЕ БУДЕТ ИНТЕРЕСНО:
Газовый счётчик ВК-G6 относится к категории приборов учёта потребляемого газа. Он используется в газовых средах: пропан, бутан, метан и другие. Активно применяется в квартирах и частных домах, коммунальных организациях, на мелких и средних предприятиях, в помещениях сельскохозяйственного назначения.

























































